玻璃轉子流量計

- AK-SX7083流量積算儀
- ◆ 本儀表適合于蒸汽和一般氣體的測量,可用于內部計量和貿易計量。 ◆ 本儀表符合新版流量積算儀檢定規程《JJG1003-2016》 ◆ 本安裝使用手冊是以具備一定的流量計經驗知識為對象編寫的,使

- 數顯壓力表
- AK-SXYLB數字壓力表為全電子結構。前端采用高精度壓阻式壓力傳感器,輸出信號由高精度,低溫漂的放大器放大處理,送入高精度的A/D轉換器,轉換成微處理器可以處理的數字信號,經過運算處理,

- 乙酸乙酯液位計
- 乙酸乙酯液位計是公司引進吸收國外同類產品,并加以提高的產品。系列產品可以做到高密封、防泄漏和在高溫、高壓、高粘度、強腐蝕性條件下可靠地測量液位,全過程測量無盲區
玻璃轉子流量計
一、產品特點:
玻璃轉子流量計國內統設通用性強、結構簡單、維修方便。
分段計量、測量范圍靈活、可測微小流量。
測體材質多樣、可測腐蝕性介質。
DN10口徑以下帶調節閥,方便用戶。
二、技術參數:
公稱口徑:DN3~DN100
精度等級:±4%~±1.5%
測量錐管材質:硬質玻璃
浮子材質:不銹鋼、瑪瑙、氟包塑、316等
連接方式:軟管、法蘭、快速接頭等
介質溫度:0~120℃
公稱壓力:0.4Mpa~0.9 Mpa
量程比:1:10、1:5

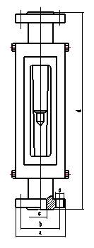
LZB15-100結構尺寸
|
型號 |
尺寸(mm) |
||||
|
a |
b |
c |
d |
e |
|
|
LZB-15 LZBF-15 |
φ95 |
φ65 |
φ15 |
470 |
4孔φ14 |
|
LZB-25 LZBF-25 |
φ115 |
φ85 |
φ25 |
470 |
4孔φ14 |
|
LZB-40 LZBF-40 |
φ145 |
φ110 |
φ40 |
570 |
4孔φ18 |
|
LZB-50 LZBF-50 |
φ160 |
φ125 |
φ50 |
570 |
4孔φ18 |
|
LZB-80 LZBF-80 |
φ185 |
φ150 |
φ80 |
660 |
4孔φ18 |
|
LZB-100 LZBF-100 |
φ205 |
φ170 |
φ100 |
660 |
4孔φ18 |
技術參數
|
產品型號 |
通徑 mm |
測量范圍 |
精度 |
工作壓力 Mpa |
使用溫度(℃) |
普通浮子材料 |
防腐浮子材料 |
||
|
液體 |
氣體 |
普通 |
防腐 |
||||||
|
LZBF-3 |
Φ3 |
4-40ml/min 6-60 10-100 |
60-600ml/min 100-1000 160-1600 |
4 |
4 |
≤0.2 |
0-120 |
不 銹 鋼 |
不 銹 鋼 |
|
LZBF-4 |
Φ4 |
1 1.6-16 2.5-25 |
0.016 0.025-0.25 0.04-0.4 |
≤1 |
|||||
|
LZBF-6 |
Φ6 |
2.5-25 4-40 6-60 |
0.04-0.4 0.06-0.6 0.1-1.0 |
2.5 |
2.5 |
||||
|
LZBF-10 |
Φ10 |
6-60 10-100 16-160 |
0.1-1.0 0.16-1.6 0.25-2.5 |
||||||
|
LZBF-15 |
Φ15 |
16-160 25-250 40-400 |
0.25-2.5 0.4-4.0 0.6-6.0 |
4 |
≤.0.6 |
聚 全 氟 乙 丙 稀 |
|||
|
LZBF-25 |
Φ25 |
40-400 60-600 100-1000 |
1.0- 10 1.6-16 2.5-25 |
1.5 |
2.5 |
||||
|
LZBF-40 |
Φ40 |
0.16 0.25-2.5 |
4-40 6-60 |
||||||
|
LZBF-50 |
Φ50 |
0.4-4 0.6-6 |
10-100 16-160 |
≤.0.4 |
|||||
|
LZBF-80 |
Φ80 |
1.0-10 1.6-16 |
50-250 80-400 |
||||||
|
LZBF-100 |
Φ100 |
5-25 8-40 |
120-600 200-1000 |
||||||
<



